觀看原圖
相簿列表
»
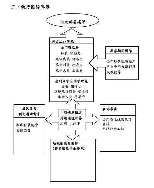
烈嶼公共工程
»
烈嶼鄉車轍道周邊環境改善工程
下一張
下一張
下一張
下一張
14 of 40
旋轉
設為相片牆主圖
設為相簿封面
編輯標題描述
刪除
標記人臉
新增文字標籤
烈嶼鄉車轍道周邊環境改善工程_14.jpg
儲存
取消
分享:
語法▼
分享連結
將此連結分享給你的朋友:
複製
此相片未開放下載
PIXNET
Facebook
Yahoo!
Google
MSN
您尚未登入,將以
訪客
身份留言。亦可以上方服務帳號登入留言
訪客身份留言將無法觀看版主回覆,建議您登入之後再留言。
請輸入左方認證碼:
看不懂,換張圖
其他選項
送出留言
章魚
相簿
部落格
留言板
名片
所有相簿
(1502)
相片資訊
本日人氣:
0
累積人氣:
0
展開
檔案大小:
268 kb
尺寸:
1400 x 1706
關閉視窗